Copyright 2008-2011
TRANSREM Sp. z o. o..
Wciągniki łańcuchowe z ręcznym napędem dźwigniowym typu D95 są bardzo wytrzymałymi urządzeniami o nieograniczonych możliwościach zastosowania. Wciągniki D95 wyposażone są w łańcuch ogniwowy. Zwarta obudowa wykonana jest z odlewu żeliwnego.
Wciągniki mogą być wyposażone w zabezpieczenie przed przeciążeniem
Wciagniki D95
Udźwigi 1500,0kg i 3000,0kg
Charakterystyka techniczna
| Typ | Nr katalogowy | Udźwig | Układ cięgien | Łańcuch d x t | Podnoszenie na 1 obrót dźwigni | Wymagana siła | Masa |
| kg | mm | mm | daN | kg | |||
| D95 1500 | 01303.050807 | 1500,0 | 1 | 6,2 x 18,5 | 35,0 | 27,0 | 9,9 |
| D95 3000 | 01303.050821 | 3000,0 | 1 | 9 x 27,2 | 38,0 | 49,0 | 16,5 |
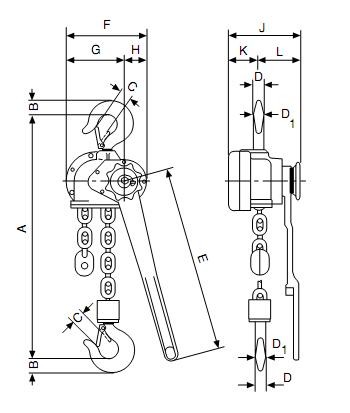
| Wymiary | Amin. | B | C | D | D1 | E | F | G | H | J | K | L |
| Typ | mm | mm | mm | mm | mm | mm | mm | mm | mm | mm | mm | mm |
| D95 1500 | 314,0 | 23,0 | 23,0 | 18,0 | 18,0 | 315,0 | 156,0 | 112,0 | 44,0 | 141,0 | 49,5 | 92,0 |
| D95 3000 | 376,0 | 30,0 | 25,0 | 22,0 | 22,0 | 443,0 | 189,0 | 134,0 | 55,0 | 177,0 | 72,0 | 105,0 |

