Copyright 2008-2011
TRANSREM Sp. z o. o..
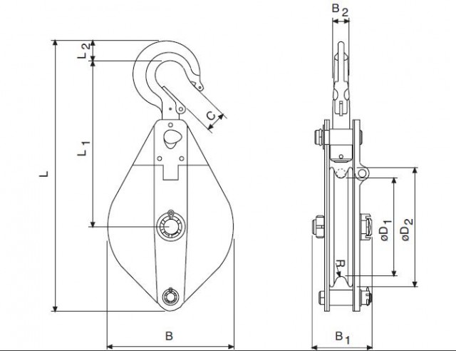
Zblocza linowe uchylne jednokrążkowe służą do zmiany kierunku liny nośnej lub jako punkt zaczepienia dla różnych urządzeń z liną nośną. Wyposażone są w specjalny zamek ułatwiający założenie liny na krążku.
Zblocza linowe uchylne
Udźwigi od 1000,0kg do 6400,0kg
Zblocza linowe uchylne przeznaczone są do współpracy z wciągnikami linowymi. Służą do zmiany kierunku liny nośnej.
Charakterystyka techniczna
| Typ | Nr katalogowy | Udźwig (kg | Maksymalna średnica liny (mm) | Masa (kg) |
| 1000 | 01303.455817 | 1 000,0 | 7,0 | 3,3 |
| 2000 | 01303.455794 | 2 000,0 | 13,0 | 8,9 |
| 3200 | 01303.455800 | 3 200,0 | 15,0 | 15,5 |
| 6400 | 01303.455824 | 6 400,0 | 18,0 | 26,5 |
| Wymiary | B | B1 | B2 | C | ØD1 | ØD2 | L | L1 | L2 | R |
| Typ | mm | |||||||||
| 1000 | 118,0 | 76,0 | 17,0 | 23,0 | 85,0 | 105,0 | 305,0 | 200,0 | 23,0 | 4,0 |
| 2000 | 199,0 | 92,0 | 24,0 | 27,0 | 150,0 | 190,0 | 425,0 | 263,0 | 30,0 | 7,0 |
| 3200 | 230,0 | 108,0 | 28,0 | 31,0 | 180,0 | 220,0 | 496,0 | 295,0 | 40,0 | 9,0 |
| 6400 | 270,0 | 116,0 | 35,0 | 42,0 | 210,0 | 260,0 | 655,0 | 375,0 | 47,0 | 10,0 |

